鞍鋼集團自動化有限公司是鞍鋼集團旗下集設計開發、系統集成和技術服務于一體的高新技術企業。公司遵循“視質量為生命、以質量占市場、靠質量求發展、用質量贏信譽”的質量方針,緊密圍繞“互聯網+先進制造”的發展戰略,始終注重產品研發和持續改進,及時向客戶提供周到的服務,充分體現以客戶為中心的經營理念,為客戶創造最大的價值。
一、項目概況
鋼鐵制造是典型的長流程工業,生產工序眾多,工藝流程復雜,大型設備集中,且工藝參數繁多,多參數間耦合性強。我國各鋼鐵企業的生產過程數據均存放在各工序獨立的一二級與三四級系統中。由于數據架構、技術平臺和數據采集技術的局限,使得日累計達上百GB的生產數據形成信息孤島,無法共享、融合,更有大量非結構數據無法被利用參與分析。
1. 項目背景
2015年,我國政府工作報告提出“互聯網+”行動計劃,推動移動互聯網、云計算、大數據、物聯網等與現代制造業相結合,大數據產業逐步從理論研究加速進入應用時代。
在中國制造2025,互聯網+行動計劃指引下,移動互聯網、云計算、大數據、物聯網、5G技術與現代制造業融合勢在必行。煉鋼廠每日上百GB非結構化數據形成信息孤島,無法利用參與分析,以煉鋼為代表的長流程工業生產工序難以實現智能制造是擺在面前的難題。鞍鋼集團自動化公司通過打通一二三四級計算機網絡,解決各計算機層級通訊問題;打通前后工序信息通道,解決長流程工序銜接問題;通過云計算+5G應用,解決非結構化數據傳輸與邊緣計算機算力不足問題。
鞍鋼集團自動化有限公司多年以來在煉鋼轉爐、精煉、連鑄等生產工藝環節通過大量的工程項目積累了豐富的生產經驗,擁有多項專利技術與豐富的先進生產操作法;中國移動擁有國家頒布的4.9GHz頻段5G工業互聯網牌照,在鞍鋼廠區布署了最快速最安全的工業互聯網;中興公司擁有5G通訊模組開發能力,與鞍鋼集團自動化有限公合作進行5G通訊模組的開發和應用;鞍鋼集團自動化有限公司擁有獨立的數據中心“精鋼云”,提供高速、穩定、低價、安全的云計算平臺。
2. 項目簡介
本項目應用于原材料工業— 黑色金屬/鋼鐵工業行業,轉爐煉鋼生產控制領域。首次實現4.9GHz頻段5G工業互聯網的工業場景應用,建成基于云邊端架構的5G+智慧煉鋼系統,實現轉爐氧槍、副槍、投料、終點全自動控制的智慧煉鋼。
3. 項目目標
實現在鞍鋼股份煉鋼總廠三分廠五號線轉爐車間,通過平板電腦,無線啟動5G+智慧煉鋼系統,應用5G網絡實現由“精鋼云”數學模型實時控制轉爐氧槍、副槍、投料、終點全自動生產。
二、項目實施概況
通過5G等通訊技術將聲吶、吊車等信息孤島與“精鋼云”高速連接,同時解決了非結構數據的傳輸問題,通過大數據處理更精準的識別轉爐的工作狀態,云計算強大的算力支持,實現了動態精確生產控制。解決了鋼鐵冶煉無法精準動態控制的問題。
1. 項目總體架構和主要內容
1.1項目總體架構
(1)技術方案
本方案以鞍鋼集團自動化有限公司“精鋼云”為云平臺,以鞍鋼股份煉鋼總廠數據集控平臺為邊緣服務器,以煉鋼總廠三分廠五號線E轉爐聲吶、吊車、攝像頭、氧槍、副槍、料倉等為終端設備,橫跨5G通訊技術、云計算技術、鋼鐵冶金工藝控制三大技術領域,與中國移動、中興公司在鞍鋼聯手打造4.9GHz頻段5G工業互聯網云邊端架構的5G+智慧煉鋼系統。
基于4.9GHz頻段5G智慧鋼鐵專網項目基于SA組網模式+MEC邊緣計算架構,通過在廠區機房內獨立建設邊緣計算設備(MEC)與私有云進行對接,實現數據不出廠,保障工業數據和信息安全。新建的4.9GHz頻段專用基站不用考慮與現網基站并存,適合在廠房內或局域場景獨立建網進行應用,與公網用戶完全物理隔離,保障數據安全、提升抗干擾能力。同時,基于特殊的3U1D幀結構滿足超級上行需求,靈活配置上下行速率,實現上行峰值速率700Mbps。基于網絡切片技術定制5G專網,按需提供網絡服務、容量、分布式部署,確保安全、資源、操作維護隔離,提供差異化SLA服務,切片之間獨立監控、運營、管理,滿足各類應用的差異化網絡需求。
以 “一種轉爐爐渣狀態檢測控制裝置及方法”、“一種轉爐冶煉終點碳含量預報裝置及預報方法”、“一種轉爐副槍過程碳含量預報方法”等15項專利為冶金技術支撐,結合云計算、自學習算法、大數據處理、聲吶分析、5G網絡通訊架構、APP開發等計算機技術與PLC、OPC UA等自動化控制技術形成5G通訊技術、冶金技術、云計算技術、與自動控制技術的完美結合。
通過設立“精鋼云”服務器、架設4.9GHz頻段5G工業互聯網、打通一二三四級網絡建立云邊端智慧工廠架構,建立聲吶、吊車、攝像頭、化驗室、MES的通訊接口,開發與應用氧槍、副槍、投料、終點四大冶煉工藝模型,使用PAD經由4.9GHz頻段5G工業互聯網實現氧槍自動、副槍自動、投料自動、冶煉終點自動控制的一鍵智慧煉鋼。
(2)實施方案
系統建設主要包括三個層次四大部分,三個層次分別是本地執行層、生產監控層和云端,四大部分分別是一鍵煉鋼(包括鋼包數據接口)、轉爐監控、工業大數據平臺和智能專家系統。
本地執行層以一鍵煉鋼為核心建設目標和系統支撐,分為聲吶氧槍控制系統、副槍自動控制系統、自學習下料系統、智能終點控制系統四部分;同時實現與聲吶系統、吊車系統的數據對接。
生產監控層包括轉爐監控系統和工業大數據平臺兩大部分:
轉爐監控系統:主要實現轉爐生產控制和狀態監視,同時作為專家系統的本地端,既可以由系統設置為專家系統直接執行分析優化后的生產指令,也可以設置為只為生產操控人員提供操作指導。
工業大數據平臺:作為系統數據核心,主要包括數據接入、數據集控、數據過濾、數據存儲四大部分功能。數據接入即實現與包括二級向一級延伸(傾動系統、氧槍系統、副槍系統、料倉系統、煤氣回收系統等)、三級向四級延伸(化檢驗系統、MES系統等)的數據實時通訊功能;數據集控包括聲吶系統,吊車定位系統、鋼水罐定位系統數據的通訊與數據處理;數據過濾包括數據清洗與數據整理;數據存儲包括數據記錄與參數維護。
云端即利用鞍鋼集團自動化有限公司的“精鋼云”搭建的智慧煉鋼支撐系統,主要功能為煉鋼工業大數據的管理和對本地算法模型進行訓練優化。
主要設計范圍包括氧槍自動、副槍自動、料倉自動、終點自動四大功能;分為聲吶氧槍控制系統、副槍自動控制系統、自學習下料系統、智能終點控制系統四部分;
接入設備包括傾動系統、氧槍系統、副槍系統、料倉系統、煤氣回收系統、聲吶系統、吊車定位系統、鋼水罐定位系統、化檢驗系統、三級計劃系統、數據庫系統、通訊系統、吹氬站設備等。
接入網絡包括四級網絡、三級網絡、二級網絡、一級環網等。
通訊協議包括TCP/IP、UDP、OPC DA、OPC UA、REST、MQTT、HTTP、WEBSPHERE MQ等;
接入數據庫包括SQL SERVER數據庫、ORACLE數據庫、DATABASE等。
聲吶氧槍控制模塊、副槍自動測試模塊、自學習投料模塊、智慧終點控制模塊的調試與應用;通過增設二級服務器、工控機,連接氧槍系統、副槍系統、散料料倉系統、合金料倉系統、聲吶系統、吊車定位系統、鋼水罐定位系統、三級系統、化檢驗系統,通過聲吶氧槍控制模型、副槍自動測試模型、自學習投料模型、智慧終點控制模型,實現氧槍、副槍、下料、終點自動控制。
聲吶氧槍控制模塊
聲吶氧槍控制模塊由計算靜態槍譜、聲吶信號分析、控制氧槍槍位、控制氧氣流量四部分組成。共分為聲吶模式、靜態槍譜模式、質譜儀模式(預留)三種控制模式。
l 聲吶模式
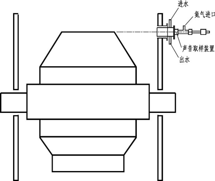
聲吶氧槍模塊需要連接聲吶檢測設備,本模塊機理為運用聲納微機監控裝置對轉爐造渣過程的音強變化進行現場測定研究分析造渣制度,通過音強信號的相對模型、噴濺和返干預警線的自動調節和確定最佳化渣區域。
在轉爐爐口或煙道中拾取噪聲,并經過電子設備處理,可以提供一個與爐內渣水平有關的信號。該信號經操作者或計算機進行正確的解釋,作為對轉爐吹煉過程的控制。用這種方法進行計算機控制下的煉鋼過程可降低鋼鐵料的消耗,減少廢品,縮短吹煉時間,增加產量。

噪聲源為吹煉噴槍槍嘴處氧氣膨脹發出的聲音。譜線分析表明,大多數爐座的曲線峰值出現在低頻范圍內(100Hz-500Hz)。實踐證明特征頻率的聲強與渣面水平有關。峰值的中心頻率主要取決于轉爐的尺寸,以及其他一些現場的共鳴條件和各種干擾源的情況。噪聲強度等級取決于由爐渣水平面距氧槍口的距離或浸入程度所引起的衰減。在吹煉開始時噪聲強度很高這與轉爐的低渣面相一致,隨著吹煉造渣的進行,渣面逐漸升高,噪聲等級逐漸下降。選出特定轉爐吹煉時能代表渣面變化的“特征”噪聲信號,濾除和抑制雜散干擾后,經聲信號處理后如果噪聲大幅度下降,操作人員不采用適當方式操作,隨之就會發生噴濺,大量爐渣從爐口噴出造成鋼鐵料的損失。反之,噪聲等級在吹煉幾分鐘以后又出現增大的現象,就意味著爐內泡沫的減少,即所謂反干現象。這種現象如不采取適當的操作方式處理,往往造成鋼水的最終成分的超標。

聲吶氧槍模塊通過大數據分析與聲吶系統反饋生成動態氧槍槍位、流量控制指令,通過在轉爐電氣PLC、儀表PLC編寫氧槍自動控制程序及增加通訊接口,實現氧槍動態自動控制;通過動態控制氧槍,減少跑渣或溢渣現象,提高鋼水收得率。
l 靜態槍譜模式
對于沒有聲吶系統或聲吶系統故障的轉爐,在冶煉過程中氧槍通過靜態槍譜的模式進行控制。靜態槍譜分為經驗型和大數據型兩種控制方式。
經驗型槍譜是根據鐵水成份(硅含量、鈦含量等)、鐵水重量、廢鋼重量及廢鋼成份等入爐原料情況,精確計算轉爐材料總體情況,選擇適合的氧槍譜模型,通過DBLC液位計算模型及靜態槍譜模型生成氧槍靜態控制槍譜,通過在轉爐電氣PLC、儀表PLC編寫氧槍自動控制程序及增加通訊接口,對氧槍進行自動控制。
l 質譜儀模式(預留)
對于有質譜儀的轉爐,可選擇質譜儀模式動態控制氧槍操作。由于質譜儀系統可以實時準確的分析煙氣成份,結合煙氣流量可測算出轉爐爐內的碳氧反應速率。根據大數據求出轉爐冶煉各階段的理想反應速率,并確定跑渣與返干的速率區間,通過質譜儀模型,在轉爐電氣PLC、儀表PLC編寫氧槍自動控制程序及增加通訊接口動態控制氧槍,使轉爐脫碳反應速度保持在理想脫碳曲線區間內,從而實現轉爐氧槍動態自動控制,達到減少跑渣與返干現象的發生,提高鋼水收得率,穩定鋼水成份的作用。
副槍自動測試模塊
副槍自動測試模塊由探頭種類選擇、探頭自動安裝、TSC自動測試、TSO自動測試四部分組成。
副槍是重要的轉爐冶煉檢測設備,是一鍵煉鋼的重要組成部分,每爐鋼水的冶煉通常需要TSC、TSO兩次副槍測試;TSC測試需要在吹氧開始時,首先選擇TSC探頭倉,安裝TSC探頭,在吹氧過程中,當副槍自動測試模型發出測試指令時,自動調整氧槍槍位與氧氣流量至測量氧槍槍位與測量氧氣流量,副槍根據速度目標曲線調整副槍槍位至將副槍探頭插入鋼水中設定插入深度,靜置至賀利氏儀表檢測出鋼水溫度與鋼水結晶溫度兩個溫度信號號,將副槍抬出爐口,并自動旋轉并自動退掉TSC探頭后,自動安裝TSO探頭,并旋轉至測量位,待冶煉結束后,副槍自動測試模型判斷鋼水靜置時間達到目標靜置時間后,啟動副槍TSO測試,將副槍降至副槍探頭達到目標鋼水插入深度,賀利氏儀表檢測出鋼水溫度、鋼水氧電動勢后,自動將副槍抬出爐口,并退掉TSO探頭。
自學習投料模塊
自學習投料模塊由自學習參數、堿鎂平衡計算、熱平衡計算、料倉自動控制四部分組成。通過大數據分析與專家模型確定自學習參數;通過堿鎂平衡計算確定熔劑種類及加入量;通過熱平衡計算確定降溫材料或升溫材料加入量;通過料倉自動控制將各熔劑與降溫材料或升溫材料通過模擬人工手動加入方式,多批次小批量適時加入爐內;
通過在轉爐電氣PLC、儀表PLC編寫料倉閥門、稱量斗、匯總斗等設備自動控制程序及增加通訊接口,實現料倉系統自動控制;通過計算機計算,取代人工計算,提高計算精度,通過增加粘度設計,可有效保護爐襯,提高轉爐爐齡,延長轉爐底吹壽命,降低鋼鐵料成本。
智能終點控制模塊
智能終點控制模塊由計算冶煉目標,計算實時碳溫,料倉自動控制,終點自動控制四個部分組成。
模塊在副槍TSC測試時啟動運行,首先根據三級IBM WEBSPHERE MQ協議發送的冶煉計劃電文及鋼水罐定位系統數據,計算冶煉目標溫度與目標碳含量;根據副槍TSC測試熔池溫度與結晶溫度、吹氧量等數據計算實時碳溫曲線;根據冶煉目標與實時碳溫趨勢控制料倉自動加料;
通過七段論轉爐冶煉終點控制法生成轉爐終點操作指令,通過在轉爐電氣PLC、儀表PLC編寫轉爐終點控制程序及增加通訊接口,實現冶煉終點自動控制;七段論包含了轉爐冶煉終點可能出現的七種狀態,各種狀態都給出合理的解決方案,可實現任何情況下最理想的碳溫平衡輸出結果。
HMI人機界面
HMI人機界面包括生產控制和狀態監視。包括對氧槍控制參數進行設定、副槍測試過程測試時機設定、冶煉終點判斷原則設定、終點測試等候時間設定等參數設定。HMI人機界面包括氧槍吹氧過程曲線、聲吶曲線、副槍測試氧副槍聯動曲線、冶煉后吹時段碳溫升溫曲線等冶煉數據動態監視。
專家指導
專家指導系統包括決策指導與閉環控制兩種模式。當操作人員選擇手動操作時,專家指導系統將給出推薦計算結果,為操作人員提供決策指導;當操作人員選擇自動控制模式時,智慧煉鋼系統根據生產狀態自動啟動運行,自動進行氧槍、副槍、料倉及冶煉終點自動生產控制。
數據接入
一二級系統接口:在一鍵煉鋼服務器上建設基于OPC UA通訊協議的一二級數據集控平臺,電氣PLC、儀表PLC、煤氣PLC、合金PLC、副槍PLC等通過工業以太網協議集控在數據集控平臺,二級系統通過OPC UA協議與數字孿生技術與數據集控平臺通訊。
三四級系統接口:建設三四級通訊的IBM WEBSPHERE MQ數據通訊隊列管理器,設計三四級通訊電文接口,編寫通訊程序,將MQ隊列管理器數據寫入SQL數據庫對應數據表,實現與三四級通訊。
數據集控
聲吶數據集控:通過增設網線將聲吶儀表接入煉鋼網絡,與聲吶廠家聯合開發聲吶系統通訊接口,建設MICROSOFT SQL SERVER數據庫將聲吶數據寫入數據庫。通過ODBC+OPC UA技術將聲吶信號接入數據集控平臺,實現聲吶數據接入智慧煉鋼系統。
吊車數據集控:通過增設網線將吊車系統接入煉鋼網絡,與吊車廠家聯合開發吊車系統通訊接口,建設MICROSOFT SQL SERVER數據庫將吊車數據寫入數據庫。通過ODBC+OPC UA技術將吊車信號接入數據集控平臺,實現吊車數據接入智慧煉鋼系統。
數據清洗
通過高效的過濾處理,將抽取各環節的有效數據,將生產過程中的分散、零亂、標準不統一的數據整合到一起,將設備故障、儀表故障、人為操作失誤等造成的錯誤數據進行清洗,避免對自動生產控制產生影響,為數據分析提供堅實的基礎。
數據整理
數據的抽取、轉換、裝載是構建數據倉庫的重要環節。大數據分析系統與生產車間的一二級系統、三四級系統、ERP系統、檢化驗系統、物聯網設備、移動設備進行全面對接,收集所有工序的生產、控制、工藝、能源介質、設備運行、質量參數等數據及圖像視頻資料。系統將這些多源、多類型數據經過整理轉換形成統一可用的數據格式。
數據記錄
采用海量數據倉庫管理及分布式數據處理技術,不但提高了系統的可靠性、可用性和存取效率,而且易于擴展。數據存儲機制通過多節點的冗余處理有效保障了系統的數據安全。先進的流處理技術使得系統具備高速的數據采集能力,滿足鋼鐵企業各生產車間,尤其是毫秒級數據采集存儲需求。
數據存儲后形成數據湖,為數據挖掘,工藝改進,生產問題查詢,模型優化提供了數據基礎。
參數維護
采用數據集控平臺與數據庫的數字孿生技術實現煉鋼冶煉參數與數據傳遞,不但提高了系統的可靠性,而且提高了大數據平臺的數據傳遞效率。先進的流處理技術使得系統具備高速的數據傳遞能力,滿足HMI人機界面、一鍵煉鋼模型、云端的參數運算需求。
在本地系統中利用算法工具建立各執行層控制模塊的生產及工藝模型,這些模型是參與生產控制的核心模塊,同時為了提高模型精度,系統將在云端通過歷史數據對算法模型進行不斷優化驗證后,形成新的參數,通過數字孿生技術返回給本地系統中,從而反復提高算法模型的適用性和準確度。
大數據管理
收集所有工序的生產、控制、工藝、能源介質、設備運行、質量參數等數據資料。系統將這些多源、多類型數據經過清洗和轉換形成統一格式存入數據倉庫。
收集訂單、技術協議、產品質量、原料成本數據形成鋼鐵產品全生命周期大數據,收集煉鐵、預處理、轉爐、氬站、精煉、連鑄煉鋼生產全工序大數據,為后期數據挖掘、模型開發提供數據湖。
模型優化系統
在大數據湖的基礎上,通過數據挖掘,利用云端的算力優勢,進行智能煉鋼參數自優化計算。通過云邊數字孿生技術,進行智慧煉鋼系統參數動態更新,實現智慧煉鋼生產工藝參數在線動態優化。
質量判定系統
利用大數據湖對影響鋼種質量的數據進行分析,根據鋼種作業指導書,對轉爐生產工序質量進行預判,對操作工提出操作建議。
指標分析系統
利用大數據湖對影響成本的鋼鐵料、白灰單耗、氧氣單耗等指標進行分析,當指標異常時,通過HMI畫面及聲音報警等方式對操作工進行提示。
2. 網絡、平臺或安全互聯架構
2.1 本地系統網絡架構
本地系統網絡架構主要設計范圍包括氧槍自動、副槍自動、料倉自動、終點自動四大功能;分為聲吶氧槍控制系統、副槍自動控制系統、自學習下料系統、智能終點控制系統四部分;
接入設備包括傾動系統、氧槍系統、副槍系統、料倉系統、煤氣回收系統、聲吶系統、吊車定位系統、鋼水罐定位系統、化檢驗系統、三級計劃系統、數據庫系統、通訊系統、吹氬站設備等。
接入網絡包括四級網絡、三級網絡、二級網絡、一級環網等。
通訊協議包括TCP/IP、UDP、OPC DA、OPC UA、REST、MQTT、HTTP、WEBSPHERE MQ等;
接入數據庫包括SQL SERVER數據庫、ORACLE數據庫、DATABASE等。
聲吶氧槍控制模塊、副槍自動測試模塊、自學習投料模塊、智慧終點控制模塊的調試與應用;通過增設二級服務器、工程機,連接氧槍系統、副槍系統、散料料倉系統、合金料倉系統、聲吶系統、吊車定位系統、鋼水罐定位系統、三級系統、化檢驗系統,通過聲吶氧槍控制模型、副槍自動測試模型、自學習投料模型、智慧終點控制模型,實現氧槍、副槍、下料、終點自動控制的一鍵煉鋼生產方式。

圖13網絡架構圖
3. 具體應用場景和應用模式
鋼鐵制造是典型的長流程工業,生產工序眾多,工藝流程復雜,大型設備集中,且工藝參數繁多,多參數間耦合性強。我國各鋼鐵企業的生產過程數據均存放在各工序獨立的一二級與三四級系統中。由于數據架構、技術平臺和數據采集技術的局限,使得日累計達上百GB的生產數據形成信息孤島,無法共享、融合,更有大量諸如視頻、圖片的非結構數據無法被利用參與分析。
煉鋼總廠五號線于2015年1月16日建設投產,采購了武漢自動化公司副槍設備、鐳目公司聲吶檢測設備(RM-200S多頻段音頻分析儀)、余姚太平洋公司吊車定位與鋼水罐定位設備、遼寧光電公司下渣檢測設備、鞍鋼集團自動化有限公司PLC及集控設備等。
由于供貨廠商繁多,設計范圍、通訊標準各不相同,導致聲吶設備、吊車稱重設備、鋼水罐定位設備、化檢驗設備等各自獨立運行,未實現數據及時互聯互通。
其它使用的煉鋼各系統存在問題如下:
1、信息孤島化:由于聲吶、吊車、副槍、氧槍、料倉等設備網絡不通,冶煉系統不能接收聲吶數據;不能自動接收三級計劃(接收不到冶煉目標);不能自動接收三級作業指導書(接收不到合金目標);不能自動采集鐵水罐號、成份、溫度,廢鋼槽號、重量等信息(無法收到鋼鐵料數據);由于網絡復雜,不能及時接收化檢驗數據,各系統皆為信息孤島;
2、人機界面不友好:吹煉開始前,需要操作工人錄入百余項數據,在現場操作工人減員的情況下,冶煉系統無法投入運行;吹煉開始后,收到正確的入爐材料信息也不能自動修正模型運算;數據時延長,生產節奏快,冶煉系統無法投入運行;
3、氧槍不能動態控制:氧槍只有固定槍譜,沒有動態控制。跑渣返干現象嚴重,鋼鐵料損失大,成本高,鋼水質量合格率低,不滿足鞍鋼成本質量要求;
4、下料系統不能加料:二級系統有時啟動計算有熔劑值,有時不計算沒有熔劑值;下料操作有時閥門動作有時不動作(實際熔劑加入量與計算量不一致,存在丟料現象);TSC測試結果后,只能自動加入一種降溫材料(當TSC溫度高時,加料不及時,不能滿足生產需要);
5、終點控制過氧化:終點溫度控制不準確(當碳含量低時經常造成鋼水嚴重過氧化,損害轉爐爐襯,可引發安全事故;
6、參數維護不及時:煉鋼工藝是隨著原材料成本及客戶要求變化而變化的,需要持續的技術支持與維護服務,武漢公司不能根據現場工藝變化及時計算和修正工藝參數,現場沒有專職參數維護工程師,不能及時調整參數,因而未能應用一鍵煉鋼。
建設切入點
煉鋼作為鋼鐵行業的重要生產環節,國內各大鋼廠近三年來紛紛開展智能制造的相關項目建設工作,以寶鋼“一鍵煉鋼”為代表,沙鋼、首鋼陸續開展和建設了各自的一鍵煉鋼等智能制造項目。在煉鋼生產環節,各家智能制造的發力點基本圍繞以下幾點,包括:生產集控、黑燈工廠、一鍵煉鋼、中包智能操作、無人坯廠、鋼包跟蹤等。上述這些方面基本都處在起步或確定初步成果的狀態。
2017年鞍鋼正式開啟了兩化融合、智能制造項目開始大規模建設。2019年鞍鋼股份決定將煉鋼5#線全線打造成為智慧煉鋼示范工廠。
開發環節
氧槍系統改造
采集接口:增加氧槍PLC數據通訊,包括氧槍絕對高度、氧槍實際槍位、熔池深度、氧氣實際流量、氧閥狀態、氮氣實際流量、氮閥狀態等數據通訊接口;
控制接口:增加氧槍自動模式、氧槍吹煉模式、氧槍濺渣模式、氧槍吹煉點、氧槍等候點、氧槍上極限點、氧槍設定槍位、氧氣設定流量、氮氣設定流量控制信號通訊接口;
PLC編程:在氧槍半自動模式基礎上,增加兩種氧槍自動控制模式;
自動吹煉:當氧槍自動模式、氧槍吹煉模式、氧槍吹煉點信號同時為開時,氧槍自動降槍到氧槍設定槍位、開啟氧氣閥門并PID調節氧氣實際流量至氧氣設定流量;
自動濺渣:當氧槍自動模式、氧槍濺渣模式、氧槍吹煉點信號同時為開時,氧槍自動降槍到氧槍設定槍位、開啟氮氣閥門并PID調節氮氣實際流量至氮氣設定流量;
槍位控制:當氧槍設定槍位小于氧槍實際槍位時,啟動氧槍下降控制;當氧槍設定槍位大于氧槍實際槍位時,啟動氧槍上升控制;
氧氣流量控制:當氧槍設定流量小于氧槍實際流量時,啟動閥開度增大PID控制;當氧槍設定流量大于氧槍實際流量時,啟動閥開度減小PID控制;
氮氣流量控制:當氮槍設定流量小于氮槍實際流量時,啟動氮氣閥開度增大PID控制;當氮槍設定流量大于氮槍實際流量時,啟動氮氣閥開度減小PID控制;
副槍系統改造
采集接口:增加副槍PLC數據通訊,包括熔池溫度值、結晶溫度值、氧電勢值等數據通訊接口;
控制接口:增加副槍自動模式、探頭倉選擇、副槍連接周期、副槍測量周期等控制信號通訊接口;
當副槍在待機位轉爐氧槍吹氧開始時,選擇TSC探頭倉打開,當探頭下降至旋轉位時,轉動機柜手臂,將探頭旋轉90度。將副槍高度下降至裝探頭高度,檢測探頭導通信號,導通成功后,抬至旋轉位,并將副槍槍架旋轉至測量位;
當收到副槍自動測試模型測量命令后,將副槍下降至探頭插入深度達到目標值,并將賀利氏儀表檢測結果發送給副槍自動測試模型接口;將副槍抬出爐口并退掉TSC探頭;
將TSO探頭倉打開,探頭下降至旋轉位時,轉動機柜手臂,將探頭旋轉90度。將副槍高度下降至裝探頭高度,檢測探頭導通信號,導通成功后,抬至旋轉位,并將副槍槍架旋轉至測量位;
當收到副槍自動測試模型測量命令后,將副槍下降至探頭插入深度達到目標值,并將賀利氏儀表檢測結果發送給副槍自動測試模型接口;將副槍抬出爐口并退掉TSO探頭。
下料系統改造
采集接口:增加料倉PLC數據通訊,包括各料倉稱量值、匯總值、爐內值、稱量信號、振動器、翻板閥信號等數據通訊接口;
控制接口:增加各料倉稱量目標值、稱量控制接口、匯總閥控制接口等控制信號通訊接口;
增設下料自動模式,當下料自動模式且收到自學習投料模型下達各料倉稱量目標值時,將各料倉稱量目標值寫入PLC各料倉稱量目標值;
當下料自動模式且收到自學習投料模型下達稱量控制信號時,將振動器啟動,當各料倉稱量重量達到設定目標值時,振動器停止,并打開稱量斗,散料進入匯總斗后,關閉稱量斗開關,并將料倉稱量目標值清零;
當下料自動模式且收到自學習投料模型下達匯總控制信號時,將匯總斗打開,延時一定時間后,自動關閉。
聲吶系統改造
采集接口:增加聲吶系統通訊,包括吹氧信息、加料信息、聲吶頻率等數據通訊接口;
控制接口:增加聲吶啟動控制、反沖洗啟停控制通訊接口;
當吹煉開始時,將聲吶系統啟動,聲吶頻率信號通過數據接口傳輸到數據共享平臺;當吹煉檢測結束后,啟動氮氣反沖洗裝置。
吊車系統改造
采集接口:通過與廠家合作,建立天車定位和鋼包定位系統通訊,編寫數據采集軟件,實現廢鋼入爐量采集、鐵水/回爐鋼入爐量采集、出鋼重量采集、澆鑄重量采集;為煉鋼工序鋼鐵料分析與控制提供基礎數據。
廢鋼入爐量采集
吊廢鋼槽的數據采集以天車電子秤為準。天車吊起廢鋼槽向爐前運行,當行駛到轉爐位置向轉爐加廢鋼時,系統根據讀卡器讀到的標簽信息判斷出爐座號,根據重量減小變化判斷出天車向轉爐加了廢鋼。取加之前的重量減去加之后的重量,得到入爐廢鋼重量。保存的數據有熔煉號、爐座號、天車、入爐時間、毛重、皮重、廢鋼重量。
鐵水/回爐鋼入爐量采集
鐵水天車吊著滿包鐵水向爐前運行,當行駛到轉爐位置向轉爐加鐵水時,系統根據讀卡器讀到的標簽信息判斷出爐座號,根據重量減小的變化判斷出天車向轉爐加了鐵水。取加之前的重量減去加之后的重量,得到鐵水重量。鐵水和回爐鋼增加一個轉換開關區分。保存的數據有熔煉號、爐座號、天車、入爐時間、毛重、皮重、鐵水重量。
出鋼重量采集
出鋼跨天車從空包區吊起一個空包,到達某一個轉爐位置放空包。系統檢測到轉爐位置、小車位置和重量變化,采集空包重量。轉爐出鋼后,天車從鋼包車上吊起滿包,系統根據轉爐位置、小車位置和重量變化,采集滿包重量,滿包重量減去空包重量得到出鋼重量。保存的數據有熔煉號、爐座號、空包時間、空包天車、空包重量、滿包時間、滿包天車、滿包重量、鋼水重量。
澆鑄重量采集
天車從轉爐鋼包車或其它地方吊起的包,吊到鑄機位置放到大包回轉臺上,系統檢測到鑄機位置、小車位置和重量變化,采集上機重量。下機時根據信號變化采集下機重量,上機重量與下機重量相減得到澆鑄重量。這樣采集的上機和下機可能不是同一個罐,如果要得到每一罐的澆鑄重量,則需要加鋼包號識別系統。保存的數據有熔煉號、爐座號、上機時間、上機天車、上機重量、下機時間、下機天車、下機重量、澆鑄重量。
通過設立“精鋼云”服務器、架設4.9GHz頻段5G工業互聯網、打通一二三四級網絡建立云邊端智慧工廠架構,建立聲吶、吊車、攝像頭、化驗室、MES的通訊接口,開發與應用氧槍、副槍、投料、終點四大冶煉工藝模型,使用PAD經由4.9GHz頻段5G工業互聯網實現氧槍自動、副槍自動、投料自動、冶煉終點自動控制的一鍵智慧煉鋼。
4. 安全及可靠性
“精鋼云”:鞍鋼集團自動化有限公司數據中心,位于鞍鋼廠區內。
5G設備:4.9GHz頻段5G設備由中興公司研發,保證數據安全。
5G網絡:5G私有云工業互聯網為中國移動公司設計及組網,數據不出廠。
數學模型:鞍鋼集團自動化有限公司開發,擁有自主知識產權。
數據可靠:生產實時數據通過OPCUA存儲在精鋼云服務器上。
5. 其他亮點
國外引進 | 國內先進 | 智慧煉鋼系統亮點 | |
氧槍自動 | 靜態槍譜 (跑渣、返干嚴重) | 靜態槍譜 (跑渣、返干嚴重) | 自學習槍譜+質譜儀/聲吶動態控制 (有效減少跑渣返干) |
副槍自動 | 按氧控制(碳控制不準) 氧副槍簡單聯動(測成率較一般) | 按氧控制(碳控制不準) 氧副槍不聯動(測成率低) | 按碳控制(碳自優化控制) 氧副槍預動作聯動(測成率高) |
下料自動 | 2批量(不準確) 靜態料譜(計算1次) | 20批料(不動作) 靜態料譜(計算1次) | 每料斗5批料(精準控制) 實時計算+動態稱量+智能投料 |
終點自動 | 副槍+質譜儀(維護成本高) | 副槍(過氧化嚴重) | 副槍+質譜儀(可選)+七段論(碳溫協調) |
數據采集 | 自動(人工補充數據20余項) | 手動(人工錄入數據60余項) | 全自動(無人工錄入) |
升級維護 | 仍用2004年系統,無法升級 | 沒有維護,無法升級 | 鞍鋼自主知識產權,持續升級 精鋼云冗余計算,7*24 貼身服務 |
三、下一步實施計劃
中國移動為4.9GHz頻段5G工業互聯網的服務運營商,中興公司為4.9GHz頻段5G設備制造商,隨著4.9GHz頻段5G工業互聯網的推廣與普及,聯手推廣5G+智慧煉鋼系統。
鞍鋼集團自動化有限公司擁有20多年的轉爐建設經驗,主持參與了國內200余座轉爐建設項目,是轉爐自動化建設領域資深企業, 5G+智慧煉鋼系統作為鞍鋼集團自動化公司的最新煉鋼自動化產品,在設計與實驗期間,已有一些鋼廠提出合作意向,下一步準備開展商務洽談。
按照公司領導安排,下一步與中興等OEM公司聯合開發5G儀表與工業設備。朝陽鋼鐵公司已將智慧煉鋼建設寫入十四五規劃,已開展前期商務與技術洽談。
四、項目創新點和實施效果
1. 項目先進性及創新點
本項目為4.9GHz頻段5G工業互聯網首次工業應用,代表我國4.9GHz頻段5G工業互聯網在工業領域率先實現突破。
代表我國率先建成由 “精鋼云”云計算實時遠程控制的智慧煉鋼工廠,率先完成由一二三四級架構向云邊端架構轉變的現代工業革命。
代表鞍鋼作為共和國工業長子積極踐行國家“新基建”戰略,在5G、云計算、人工智能、工業互聯網、智能制造等國家戰略方面引領鋼鐵行業新技術的發展。
該項目由鞍鋼集團自動化公司、中國移動、中興公司共同實施,從此我國擁有自主知識產權的全套5G+智慧煉鋼系統,代表煉鋼生產邁入AI時代。
2. 實施效果
解決痛點
通過5G等通訊技術將聲吶、吊車等信息孤島與“精鋼云”高速連接,同時解決了非結構數據的傳輸問題,通過大數據處理更精準的識別轉爐的工作狀態,云計算強大的算力支持,實現了動態精確生產控制。解決了鋼鐵冶煉無法精準動態控制的問題。
經濟效益
(1)轉爐命中率提高,轉爐終點鋼水氧含量降低約64ppm,每爐可節約脫氧鋁鐵消耗41kg,效益計算:
7.5×41÷260=1.18元/噸鋼
7.5 — 鋁球單價,元/kg
(2)轉爐終點碳含量、溫度可實現精準預測,低硅鋼、中碳鋼等約45%的爐次可實現終點不測試出鋼,節省探頭消耗效益:
110/260×45%=0.19元/噸鋼
110 — TSO探頭價格,元/支
45% — 終點不測試比例
(3)造渣輔原料實現成本最優下的動態計算,約可降低石灰消耗1kg/噸、輕燒1.2kg/噸,降低輔料成本效益計算:
0.7 ×1+0.53×1.2=1.34元/噸鋼
(4)合金優化配置,高碳類、低成本合金取代低碳類、高成本合金,實現單爐成本最優化,合金鋼每爐可節省合金成本約2.6元/噸鋼,按照合金鋼比例65%計算效益:
2.6×65%=1.69元/噸鋼
(5)加料、氧槍、合金化、鋼包底吹、濺渣等過程操作實現標準化、加之過程防錯糾錯預警,可有效減少各種人為誤操作和成分不合造成的成本浪費,可降低成本約0.7元/噸鋼。
總成本降低:1.18+0.19+1.34+1.69+0.7=5.1 元/噸鋼。
按照噸鋼平均降低成本5.1元計算,鞍鋼煉鋼總廠5#線年產鋼約200萬噸。
按此計算每年節省成本1020萬元。